Packing Cartridge Unit 9984

Packing Cartridge Unit 9984

Packing Cartridge Unit 9984
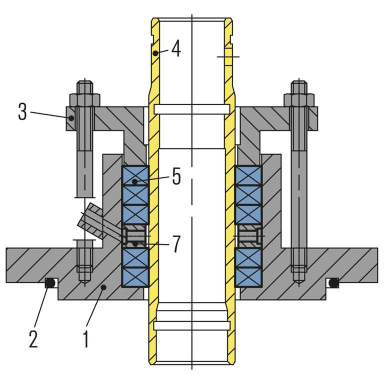
Item Description
1 Stuffing box housing
2 O-Ring or Statotherm profile ring
3 Gland follower
4 Shaft sleeve
5 Packing set
7 Lantern ring

Packing Cartridge Unit 9984

Features

Packing cartridges combine a simple system structure with a robust construction. They are ideal for absorbing larger axial and radial shaft movements and can be suitable for dry contacting, depending on the conditions of use and packing quality. The choice of packing quality depends on the medium and the operating conditions. EagleBurgmann packing cartridges are used successfully in a range of different industries. The design is based on the operating ranges.

Advantages

  • Split gland for easy and fast packing changes
  • Particularly fast and easy to install

Operating range

Previously covered operating range:

Shaft diameter:
d = 6 ... 1,000 mm (1/4" … 39")
Pressure: p = vacuum ... 660 bar (9,570 PSI)
Temperature:
t = -40 °C ... +500 °C (-40 °F … +932 °F)
Sliding velocity: vg = max. 20 m/s (66 ft/s)

Standards and approvals

Depends on used material

Forms of supply

Available versions
  • Ready-to-fit cartridge unit, connection sizes to DIN EN/ASME standards (agitators)
  • Live-loaded system (external disk spring arrangement) with defined surface pressure and visual control
  • Available with integrated shaft bearings
  • Lubrication or pressurized buffer gas via lantern ring possible. Shaft protection sleeve with chromium oxide coating or hardened to protect against abrasive particles in the medium
  • Suitable for large radial shaft deflections if the packing set is arranged “floating”



Product variants

Item Description
1 Stuffing box housing
2 O-Ring or Statotherm profile ring
3 Gland follower
4 Shaft sleeve
5 Packing set
6 Guide sleeve for spring
7 Lantern ring
Item Description
1 Stuffing box housing
2 O-Ring or Statotherm profile ring
3 Gland follower
4 Shaft sleeve
5 Packing set
6 Guide sleeve for spring washers
8 Carbon ring
9 Anti-rotation device
10 Containment bellows

Similar products

Soot blower set 1

Soot blower set 1 9650/SB1 consists of a combination of Isartherm A 6011/A packing rings and Rotatherm 0901/B7 precompressed pure graphite rings.

Soot blower set 2

Soot blower set 2 9650/SB2 consists of a combination of Araflon A 6426 packing rings and Rotatherm 0901/B7 precompressed pure graphite rings.
Contact

Inquire about individual solutions

We develop and produce customer-specific special and individual solutions for every application.

Inquire now Discover reference projects
Back to the overview